Mein Ansprechpartner
Standort auswählen

Nach Eingabe Ihrer Postleitzahl nennen wir Ihnen sofort Ihren persönlichen igus® Berater.

DE(DE)

e-skin flat - Technische Details

Das flache Kabelführungssystem e-skin flat besteht aus einzelnen miteinander verbindbaren Leitungskammern. Eine oder mehrere Leitungen können in diese Kammern eingelegt werden. 

Es gibt 3 Varianten: 
  • Geschlossene Varianten:
    • SKF12C [Innenhöhe = 12 mm]
    • SKF15C [Innenhöhe = 15 mm]
  • Zu öffnende Varianten (Kammern können mit einem Zipper-Verschluss geöffnet und geschlossen werden) 
    • SKF12O [Innenhöhe = 12 mm]
Weitere Informationen zur e-skin flat
 
Jetzt e-skin flat konfigurieren

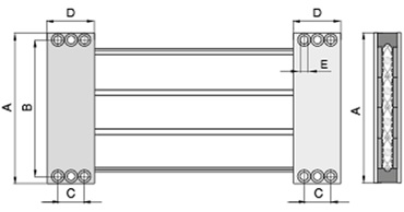
Einbaumaße

  • A = 37,5 mm
  • B = 100 mm
  • R = 40 - 100 mm
  • S = bis zu 3000 m
  • H = ab 80 mm
  • Lk = S/2 + K
  • K = 3,14 x R (größter Biegeradius der geführten Leitungen) + 2 x 100 mm + 2 x 37,5 mm
e-skin flat Einbaumaße

Konstruktionsprinzipien


 

Konstruktion der Ausführungen

e-skin® flat Konstruktionsprinzip

Zu öffnende Varianten

Mit der SKF12O können Leitungen in Minuten ausgetauscht werden.
e-skin® flat Konstruktionsprinzip

Vollständig geschlossen

Partikelgeschützt mit geschlossenen Leitungskammern SKF12C/SKF15C.

e-skin® flat Konstruktionsprinzip

Geschlossene & zu öffnende Variante

Abbildung zeigt zwei miteinander verbundene Profile, links den geöffneten Zustand, rechts den geschlossenen.

Befüllungsmöglichkeiten

e-skin® flat Befüllungsmöglichkeit

2 - 6 Kammer

Befüllt mit 1, 2 oder 3 gleichen Leitungen pro Kammer

Befüllungsregeln

1Regel:
  • SKF12C: [A] Innenhöhe = 12 mm | [B] Außenhöhe = 13 mm ➔ Leitungsdurchmesser 10 mm
  • SKF15C:  [A] Innenhöhe = 15 mm | [B] Außenhöhe = 16 mm ➔ Leitungsdurchmesser 13 mm
2Regel:
  • SKF12O: [A] Innenhöhe = 12 mm | [B] Außenhöhe = 13 mm ➔ Leitungsdurchmesser 10 mm
3Regel:
  • Pod mit eingehauster Stützkette SKF.S für freitragende Länge der SKF12C und zur Vermeidung von Abrieb
e-skin flat Befüllungsregeln
e-skin flat Befüllungsregeln

SKF12O und SKF12C

1

Wenn Leitungsdurchmesser 10 mm ist, dann nur eine Leitung in einem Pod

2

Wenn Leitungsdurchmesser 6,5 mm ist, dann max. 2 Leitungen in einem Pod

3

Wenn Leitungsdurchmesser 4 mm ist, dann max. 3 Leitungen in einem Pod

e-skin flat Befüllungsregeln

SKF15C

1

Wenn Leitungsdurchmesser 13 mm ist, dann nur eine Leitung in einem Pod

2

Wenn Leitungsdurchmesser 8 mm ist, dann max. 2 Leitungen in einem Pod

3

Wenn Leitungsdurchmesser 6 mm ist, dann max. 3 Leitungen in einem Pod

Anschlusselemente

e-skin flat Anschlusselemente
A = 68,5 - 148,5 mm
B = 53 - 157 mm
C = 18 mm
D = 37,5 mm
Anzahl Pods SKF12O.1.1.10Anschlusselemente Breite [mm]Anzahl Pods SKF12C.1.1.10Anschlusselemente Breite [mm]Anzahl Pods SKF15C.1.1.10Anschlusselemente Breite [mm]
2
68,5
0
68,5
2
68,5
0
62,5
2
62,5
3
93
1
87
2
87
4
117,5
2
111,5
2
111,5
5
166,5
3
136
2
136
6
166,5
4
160,5
2
160,5
  
3
93
0
93
  
4
117,5
0
117,5
  
5
142
0
142
  
6
166,5
0
166,5
  
0
84
3
84
  
0
105,5
4
105,5
  
0
127
5
127
  
0
148,5
6
148,5
  
th>G [mm]
Art. Nr. KomplettsatzA [mm]B [mm]C [mm]D [mm]E [mm]F [mm]G [mm]
SKFC.MR.062562,55318,7537,54,597
SKFC.MR.068568,55918,7537,54,597
SKFC.MR.08408474,518,7537,54,597
SKFC.MR.08708777,518,7537,54,597
SKFC.MR.09309383,518,7537,54,597
SKFC.MR.1055105,59618,7537,54,597
SKFC.MR.1115111,510218,7537,54,597
SKFC.MR.1175117,510818,7537,54,597
SKFC.MR.1270127117,518,7537,54,597
SKFC.MR.1360136126,518,7537,54,597
SKFC.MR.1420142132,518,7537,54,597
SKFC.MR.1485148,513918,7537,54,597
SKFC.MR.1605160,515118,7537,54,597
SKFC.MR.1665166,515718,7537,54,597

Montagehinweis


 
Flaches Kabelführungssystem e-skin® flat Bei der zu öffnenden Ausführung, können die Profile einzeln geöffnet werden.
Flaches Kabelführungssystem e-skin® flat Die Leitungen können, nach Ihren Wünschen aufgeteilt, eingelegt werden. Bitte beachten Sie hier, dass nur Leitungen mit gleichem Durchmesser in eine Kammer kommen.
Flaches Kabelführungssystem e-skin® flat

Die e-skin flat kann dann nach der Befüllung einfach per Hand oder mit dem Werkzeug MT.SK.914.868 geschlossen werden.

Flaches Kabelführungssystem e-skin® flat

Wenn mehrer kammern benötigt werden, können einfach weitere Profile angeschlossen werden.

Flaches Kabelführungssystem e-skin® flat

Das am Ende verjüngte Profil wird einfach durch das Verschrauben der Anschlusselemente festgeklemmt und die Leitungen somit zugentlastet.



The terms "Apiro", "AutoChain", "CFRIP", "chainflex", "chainge", "chains for cranes", "ConProtect", "cradle-chain", "CTD", "drygear", "drylin", "dryspin", "dry-tech", "dryway", "easy chain", "e-chain", "e-chain systems", "e-ketten", "e-kettensysteme", "e-loop", "energy chain", "energy chain systems", "enjoyneering", "e-skin", "e-spool", "fixflex", "flizz", "i.Cee", "ibow", "igear", "iglidur", "igubal", "igumid", "igus", "igus improves what moves", "igus:bike", "igusGO", "igutex", "iguverse", "iguversum", "kineKIT", "kopla", "manus", "motion plastics", "motion polymers", "motionary", "plastics for longer life", "polymore", "print2mold", "Rawbot", "RBTX", "RCYL", "readycable", "readychain", "ReBeL", "ReCyycle", "reguse", "robolink", "Rohbot", "savfe", "speedigus", "superwise", "take the dryway", "tribofilament", "triflex", "twisterchain", "when it moves, igus improves", "xirodur", "xiros" and "yes" are legally protected trademarks of the igus® GmbH/ Cologne in the Federal Republic of Germany and where applicable in some foreign countries. This is a non-exhaustive list of trademarks (e.g. pending trademark applications or registered trademarks) of igus GmbH or affiliated companies of igus in Germany, the European Union, the USA and/or other countries or jurisdictions.

igus® GmbH points out that it does not sell any products of the companies Allen Bradley, B&R, Baumüller, Beckhoff, Lahr, Control Techniques, Danaher Motion, ELAU, FAGOR, FANUC, Festo, Heidenhain, Jetter, Lenze, LinMot, LTi DRiVES, Mitsubishi, NUM,Parker, Bosch Rexroth, SEW, Siemens, Stöber and all other drive manufacturers mention on this website. The products offered by igus® are those of igus® GmbH