Mein Ansprechpartner
Standort auswählen

Nach Eingabe Ihrer Postleitzahl nennen wir Ihnen sofort Ihren persönlichen igus® Berater.

DE(DE)

Was ist bei der Montage von iglidur Gleitlager zu beachten?



Einpressen der Lagerbuchsen

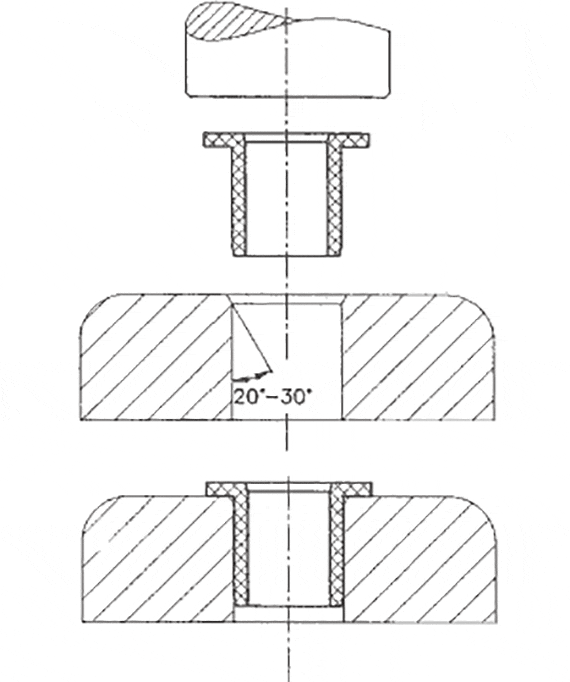
Montage

iglidur Gleitlager sind Einpressbuchsen. Der Innendurchmesser stellt sich erst nach dem Einpressen in die H7-Aufnahmebohrung mit der entsprechenden Toleranz ein. Das Einpressübermaß kann bis zu 2 % des Innendurchmessers betragen. Damit wird der sichere Presssitz der Lager gewährleistet. Axiale oder radiale Verschiebungen im Gehäuse werden so sicher vermieden.

Die Bohrung im Gehäuse sollte für alle Lager in der Toleranz H7 gefertigt und möglichst glatt, eben und angefast sein. Die Montage erfolgt mit einem ebenen Stempel. Die Verwendung von Zentrier- oder Kalibrierdornen kann zur Beschädigung der Lager und zu einem größeren Spiel führen.
iglidur Montagehilfe

Einpresshilfe für iglidur Gleitlager

iglidur Gleitlager sind Einpressbuchsen, die mit Übermaß in eine H7-tolerierte Aufnahme eingepresst werden. Das passiert nicht immer mittels Einpressstempel in einer Montagelinie und manchmal hat man einfach Hände zu wenig. Die Montagehilfe von igus nimmt flexibel und sicher Gleitlager für Wellendurchmesser 13 bis 50 mm (PT-1350) und 6 bis 20 mm (PT-0620) auf und erlaubt sogar die Montage mittels Hammer – unkompliziert und schnell.

Einpresshilfe bestellen


Messung des Innendurchmessers eines eingepressten Gleitlagers Messung des Innendurchmessers eines eingepressten Gleitlagers
Die Lage der Messebenen Abb. 1: Die Lage der Messebenen (1, 2, 3 = Messlinien)

Toleranzen und Messsystem

Die Einbaumaße und Toleranzen der iglidur®-Gleitlager sind werkstoff- und wandstärkenabhängig. Beim Werkstoff ist die Feuchtigkeitsaufnahme und die Wärmeausdehnung entscheidend. Gleitlager mit geringer Feuchtigkeitsaufnahme können mit kleinem Lagerspiel verbaut werden. Für die Wandstärke gilt: Je dicker die Lager sind, desto größer muss auch das Spiel der Lager sein.

Somit ergeben sich unterschiedliche Toleranzklassen für iglidur®-Gleitlager. Mit diesen Toleranzen können iglidur®- Gleitlager nach den Einbauempfehlungen über den jeweils zulässigen Temperaturbereich und in Raumfeuchten bis 70 % betrieben werden. Sollten höhere Luftfeuchtigkeiten vorliegen oder die Lager unter Wasser betrieben werden, sind die Werkstoffe mit geringer Feuchtigkeitsaufnahme zu bevorzugen.

Mit dem kostenlosen igus Passungsrechner berechnen Sie schnell und einfach Passungen und Toleranzen nach ISO 286. Darüber hinaus wird neben der Ausgabe von Höchst- und Mindestmaß auch die zugehörige Passungsart ausgegeben.
Zum Passungsrechner
 

Prüfen, ob das Lager richtig sitzt

iglidur Gleitlager sind Einpresslager für Aufnahmen mit einer H7-Einheitsbohrung. Dieses Einpressen der Lager befestigt die Lager einerseits im Gehäuse, andererseits wird der Innendurchmesser der Gleitlager dadurch erst geformt. Die Prüfung der Lager erfolgt, eingebaut in der Bohrung mit Kleinstmaß, sowohl mit einer Messuhr als auch mit einem Lehrdorn:
  • Eingepresst in die Bohrung muss die Gutseite des Lehrdorns das Lager leichtgängig passieren
  • Mit Diatester muss der Innendurchmesser der Lager an den Messebenen (Abb. 1) im Mittel innerhalb der vorgegebenen Toleranz liegen

Ursachen für Maßabweichungen 

Trotz sorgfältiger Herstellung und Montage der Lager können sich Abweichungen und Fragen im Zusammenhang mit den Einbaumaßen und Toleranzen ergeben. Aus diesem Grund haben wir die häufigsten Gründe für Abweichungen aufgeführt. In vielen Fällen konnten mit diesem Trouble Shooter die Gründe für Abweichungen schnell gefunden werden:
  • Bohrung ist nicht richtig angefast – das Lager schabt außen ab
  • Es wurde ein Zentrierdorn verwendet, der die Lager beim Einpressen innen aufgeweitet hat
  • Die Bohrung entspricht nicht der H7-Toleranz
  • Das Gehäuse ist aus einem weichen Material, das durch die Lager beim Einpressen aufgeweitet wurde 
  • Die Welle ist nicht h-toleriert
  • Die Messung erfolgt nicht innerhalb der Messlinien

Kleben

Das Einkleben der Lagerbuchsen ist im Normalfall nicht erforderlich. Wenn aufgrund hoher Temperaturen der sichere Sitz der Lager gefährdet sein sollte, ist die Verwendung eines temperaturbeständigeren Gleitlagers vorzusehen. Sollte dennoch die Befestigung der Lager durch Kleben vorgesehen werden, sind in jedem Fall geeignete Versuche erforderlich. Die Übertragung erfolgreicher Ergebnisse auf anderer Einsatzfälle ist nicht ohne weiteres möglich.

 

Spanende Bearbeitung

iglidur Gleitlager werden einbaufertig geliefert. Das umfassende Programm erlaubt in den meisten Fällen den Einsatz einer Standardabmessung. Wenn trotzdem eine nachträgliche Bearbeitung der Gleitlager nötig wird, zeigt die nebenstehende Tabelle die Bearbeitungsrichtwerte. Nach Möglichkeit ist jedoch die nachträgliche Bearbeitung der Gleitflächen zu vermeiden. Höherer Abrieb ist meist die Folge. Eine Ausnahme stellt z. B. iglidur M250 dar, das für nachträgliche Bearbeitung sehr gut geeignet ist. Bei den anderen iglidur Gleitlagern kann durch eine Montageschmierung den Nachteilen einer Gleitflächenbearbeitung entgegengewirkt werden.

 

Richtlinien bei der spanenden Bearbeitung

VerfahrenDrehenBohrenFräsen
SchneidwerkstoffSSSSSS
Vorschub [mm]0,1 ... 0,50,1 ... 0,5bis 0,5
Freiwinkel5 ... 1510 ... 12 
Spannwinkel0 ... 103 ... 5 
Schnittgeschwin-
digkeit [m/min]
200 ... 50050 ... 100bis 1000



The terms "Apiro", "AutoChain", "CFRIP", "chainflex", "chainge", "chains for cranes", "ConProtect", "cradle-chain", "CTD", "drygear", "drylin", "dryspin", "dry-tech", "dryway", "easy chain", "e-chain", "e-chain systems", "e-ketten", "e-kettensysteme", "e-loop", "energy chain", "energy chain systems", "enjoyneering", "e-skin", "e-spool", "fixflex", "flizz", "i.Cee", "ibow", "igear", "iglidur", "igubal", "igumid", "igus", "igus improves what moves", "igus:bike", "igusGO", "igutex", "iguverse", "iguversum", "kineKIT", "kopla", "manus", "motion plastics", "motion polymers", "motionary", "plastics for longer life", "polymore", "print2mold", "Rawbot", "RBTX", "RCYL", "readycable", "readychain", "ReBeL", "ReCyycle", "reguse", "robolink", "Rohbot", "savfe", "speedigus", "superwise", "take the dryway", "tribofilament", "triflex", "twisterchain", "when it moves, igus improves", "xirodur", "xiros" and "yes" are legally protected trademarks of the igus® GmbH/ Cologne in the Federal Republic of Germany and where applicable in some foreign countries. This is a non-exhaustive list of trademarks (e.g. pending trademark applications or registered trademarks) of igus GmbH or affiliated companies of igus in Germany, the European Union, the USA and/or other countries or jurisdictions.

igus® GmbH points out that it does not sell any products of the companies Allen Bradley, B&R, Baumüller, Beckhoff, Lahr, Control Techniques, Danaher Motion, ELAU, FAGOR, FANUC, Festo, Heidenhain, Jetter, Lenze, LinMot, LTi DRiVES, Mitsubishi, NUM,Parker, Bosch Rexroth, SEW, Siemens, Stöber and all other drive manufacturers mention on this website. The products offered by igus® are those of igus® GmbH